CFMoto looks to be working on a motorcycle with deployable wings
Patents show that CFMoto is working on building deployable winglets on its range of sports motorcycles.

CFMoto could be stepping into uncharted territory very soon, as patents reveal it has been investigating winglets on its bikes that can be deployed on command.
Winglets on motorbikes first appeared in the modern era in 2010, with Ducati’s Desmosedici GP10 bringing them back into the conversation. Other brands had flirted with the idea, such as Suzuki, with its 1980 RG500, and MV Agusta, with its 1972 500/4 GP bike. The Ducati, though, was the first of a tsunami of winglets that quickly sprouted from the bodywork of the rest of the grid.
As is the way with the road and race bike relationship, pretty soon we began to see winglets appearing on road bikes, from things like the Panigale V4S to bikes like the one you can see here, CFMoto’s 675SR.

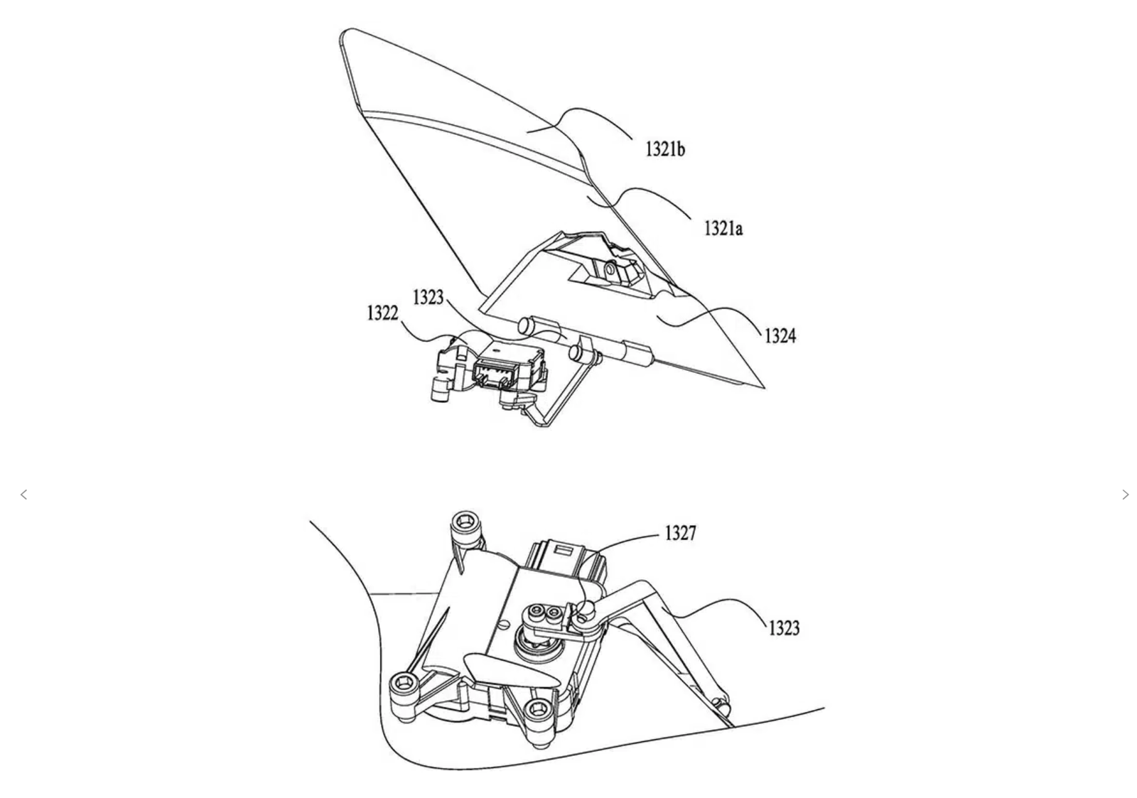
The design of the said winglets looks to be fairly simple, with an actuator sitting on the inside of the fairing and a linkage fixing it to the winglet. What isn’t as clear is exactly how they are deployed. Some reports suggest this is done automatically and at a certain speed, although they could also be linked to a track riding mode, where they stay in the fully deployed position.

While the CFMoto would be the first bike with winglets that can deploy while the bike is on the move, it’s not the first motorcycle to feature active aerodynamics. Moto Guzzi already has a system on its V100 Mandello, although on the Italian bike, the aero has a slightly different purpose.

Instead of improving the handling or front-end grip of the Guzzi, the winglets are supposed to shapeshift the bike from a roadster to a tourer at the push of a button. It’s claimed that when the aero elements are in the deployed position (up), they reduce the air pressure on the rider’s body, making for more comfortable cruising. The results, though, aren’t quite that successful, with Visordown’s road tester not noticing much of a difference when out on the road.
You may also like to read our Moto Guzzi V100 Mandello review.
What these CFMoto winglets will end up on remains to be seen, and while the brand does have the 500SR and 675SR sports bikes in its range, this tech could be better suited to the CFMoto’s long-awaited V4 sportsbike, which is yet to be launched.
Find the latest motorcycle news on Visordown.com











