BMW Patent flexible carbon swing arm
The BMW patents show a carbon swingarm that requires no pivot, shock absorber or spring

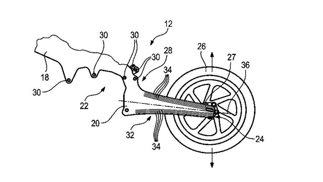
BMW are already the purveyors or motorcycle carbon loveliness, see BMW HP4 Race, and now they are breaking into truly uncharted territory. The pictures show a totally new type of motorcycle swing arm, that works in a totally different way than anything that has come before it.
A ‘normal’ motorcycle relies on a frame, that holds the engine and rider, and bolted to that are the suspension components, forks at the front connecting directly to the front wheel. And a swing arm at the rear. The swing arm is fixed to the rear wheel and pivots at the point at which it mounts to the main-frame or engine. Somewhere along the length of the swing arm, a shock absorber will be attached to help keep the rear wheel in contact with the ground when the bike runs over bumps.
It is only when you read what you need to make a swing arm that you realise it is a pretty complex piece of kit – and we’ve not even mentioned rising rates and bottom linked shock absorbers. BMW clearly think that the tried and tested method is over complicated, as they have patented a swingarm that completely does away with almost all the complexity.

The carbon-framed HP4 Race was BMW's first foray into carbon firbre motorcycles, although maybe not the last...
The new design is made of carbon fibre and forms an integral part of the motorcycle’s frame – that too is made of carbon fibre. The system works in a similar way to the leaf springs on classic cars, the spring is flexible along one axis but rigid and resistant to flex on the other. In this instance, the carbon in the swing arm would be laid in such a way that it flexes vertically but not laterally.
The bike would still require some bike of damping system, otherwise, it’d bounce almost uncontrollably, although in theory, the idea should work.
Are there any downsides to the BMW carbon fibre swingarm?
While the new design could save masses of weight over a conventional swingarm, there could be a couple of downsides. The first, and probably most dangerous, would be carbon fibre fatigue. Carbon ages and can become brittle, which puts a big question mark over the lifetime of the new design. There have been instances recently where petrol heads have had big crashes driving carbon era F1 cars from the mid-2000s. One such incident happened at Laguna Seca when the front end literally fell off one of Michael Schumacher’s old Ferrari F1 cars. The accident was linked to carbon fatigue.
The second is that racers, manufactures and teams have been tuning motorcycles for optimum handling including the – sizeable – weight of a swing arm and rear suspension system, removing that weight will mean those calculations need to be completely re-worked. In the patent above we can see the design fitted to what looks like a BMW S1000RR frame, it is fair to say that will need some serious re-jigging to make it work on the road and track!












