BMW working on adjustable seating for more ‘ample’ riding support
BMW is working on new saddle and seating solution for its motorcycles that provide greater width adjustment for greater riding comfort

In a world of technology, smart devices and small but mighty chips that will do everything from boil the kettle to blast people into space, there is something rather satisfying when a new patent emerges with really quite simple objectives.
Indeed, while motorcycle innovations continue to come on leaps and bounds - whether its self-standing machines, gesture controls or (sixth) sensors that understand the crash you’re about to have before you do - sometimes us riders just need a solution for the simplest of niggles.
Which is why it is surprising it has taken until 2022 for a manufacturer to consider how better to improve the humble seat.
After all, it’s one of the main contact points between you and riding a motorcycle so you want to be comfortable and secure. But that contact patch certainly varies… in short, some of us get a bum deal if we happen to be packing a bit more ‘luggage’.

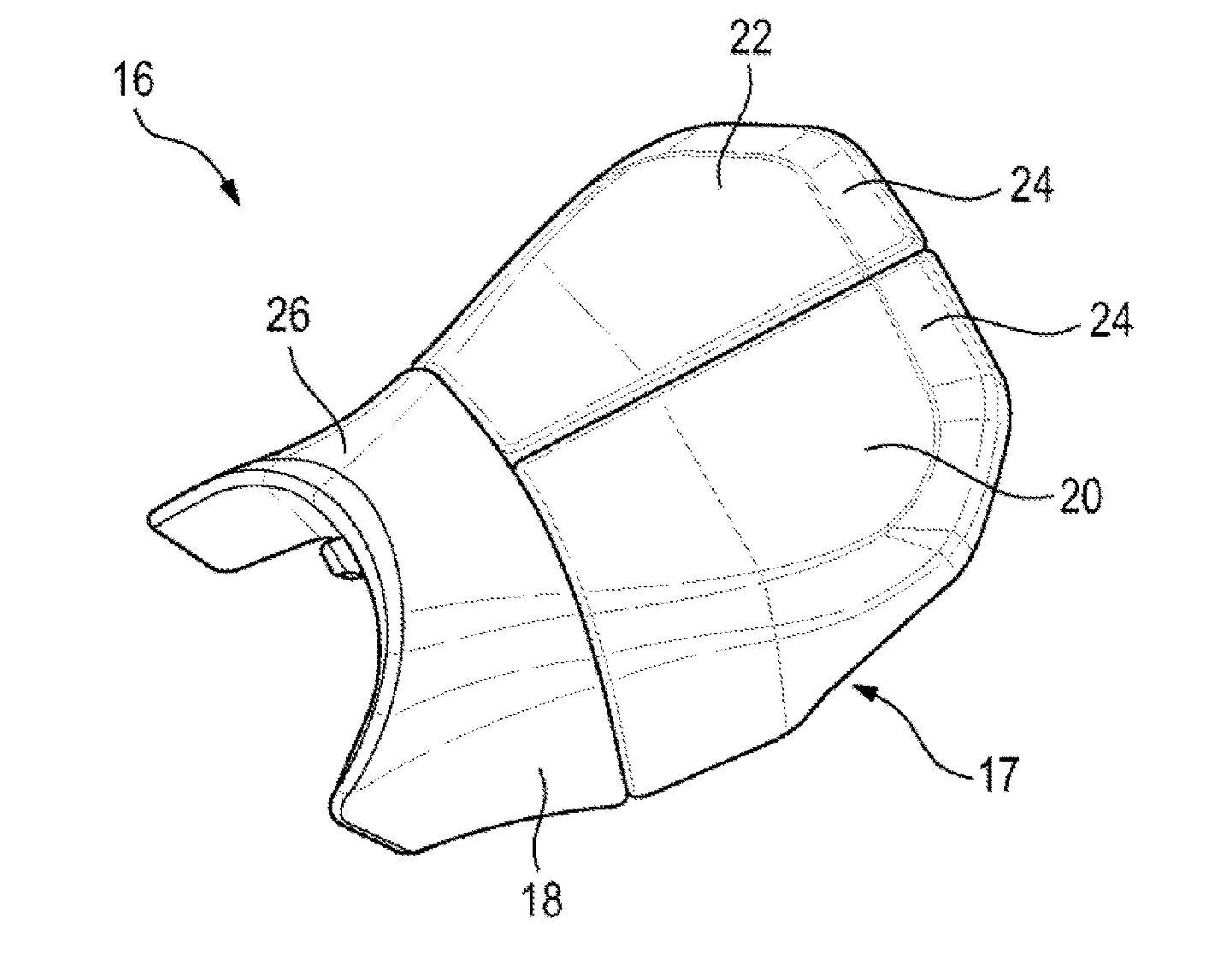
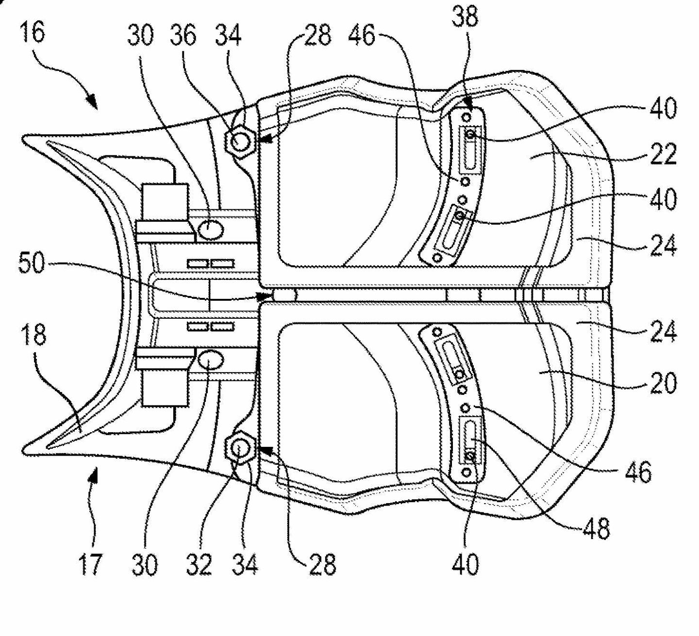
While many motorcycles do offer some degree of adjustability on the seat, patents reveal BMW is taking it further by focusing on the width adjustment, allowing those with a more ample posterior feel less short changed when riding.
The rear portion of the saddle is divided into three, with the front part fixed and the rear parts able to unfurl up and wider, essentially creating a seat for each buttock. Simple.

It’s perhaps no surprise BMW has been zoning in on this, its motorcycle range is angled towards Touring and Cruiser models, meaning comfort over long distances has to be a key selling point.
The motorcycle used for the patent is the F 850 GS but the design would likely also make its way onto the top-selling R 1250 range.











