Honda Wind Assist Patent Looks to Nullify Crosswinds
The new system from Honda utilises bike-based sensors to monitor the machine’s position and keep it within a lane

Hitting a crosswind on a bike is, for most experienced riders, not a huge issue. You build up an inbuilt weather vane as a rider and that tends to allow you to dial in some extra lean angle or counter steering to help straighten things out.
For newer riders though, encountering a crosswind on a multi-lane road could be a seriously scary experience, and that is something that Honda is looking to prevent.
Patents have revealed a new lane assistance system, that looks as though it could help riders with the problem, and it utilises the array of sensors a modern motorcycle already employs to help detect when the issue arises.

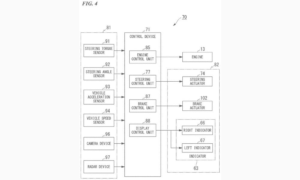
The idea is that the bike detects when a crosswind is taking the vehicle off track and deploys a series of measures to counteract the pressure. The more complicated description is that steering torque and angle sensors, along with an acceleration and speed sensor, a camera and a radar device feed data to an engine, steering, and brake control unit, which will then respond appropriately.
From looking at the patent it seems like the system can adjust the vehicle speed with the throttle and brake, and dial in some steering adjustments as well as switching on the bike’s indicators to notify other road users of what is happening.
While the Honda system directly mentions crosswinds in the patent, the technology is not too dissimilar to that already found in cars. Lane-keeping systems are a type of self-driving tech that maintains a car's position within a lane on a multi-lane road. The driver of the vehicle is still legally in charge of the vehicle and must maintain control and have at least one hand on the wheel at all times. Taking the wind out of the equation, the solution Honda is proposing looks fairly similar to that.
Should the system ever actually make it to production, it would be safe to assume it would be saved for Honda’s flagship touring bikes, making the top-spec Gold Wing DCT Tour Airbag, and NT1100 the kind of bikes we’d see this debut on.












