Indian Motorcycle is lighting the way with their cornering & radar light patents
New rider technology could be on the way with Indian Motorcycle, as filed patents show their latest cornering, radar and rider-assisting ideas.

PATENTS are a funny game, manufacturers will file them away as they test out new ideas and their vision of rider tech - with those who keep an eye on patent filings able to get a glimpse at the direction firms like Indian Motorcycle are wanting to take their lineups in the near future.
Step up Motorrad Online, which has dived deep into the latest patents filed away, pertaining to cornering lights, speed-adaptive lights, radar lights and more.
Fitting anything else on motorcycles can be a challenge, but thanks to the sheer size of the touring motorcycle seen in the patents (which could be the Indian Roadmaster) the required additional sensors and control modules can be tucked away neatly - space and weight aren’t as much as a concern here.

There’s a lot going on with these patents, so let’s break it down.
What patents has Indian Motorcycle filed away?
First up, traffic sensitive radar.

Simply enough, a radar and/or camera system will enable the motorcycle to monitor the location of nearby vehicles on the road - opening the door for both radar cruise control & blind spot and distance warnings (which will notify the rider through lights in the mirrors or dash, and vibrating areas in the seat.
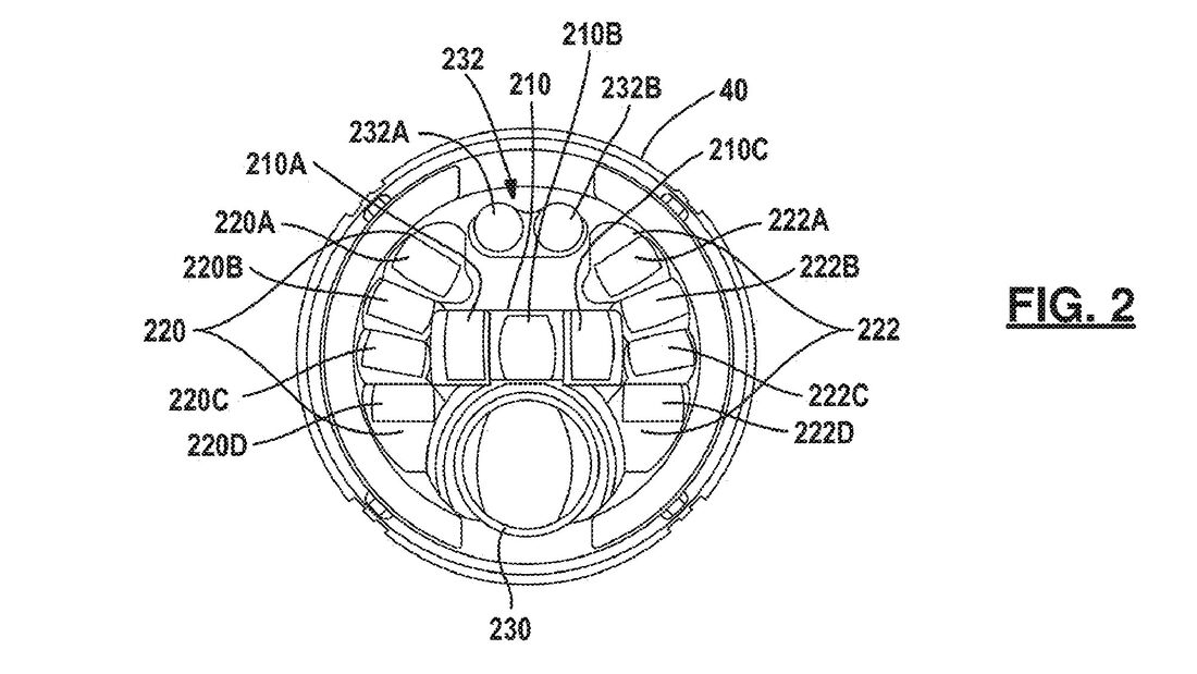
Next up, cornering lights.

Nothing unusual here, lean-sensitive lights are fairly common on high-end motorcycles, but in this case the Indian unit will work with high-beam too. With a complex headlight unit divided into 14 LED portions, both low & high beams will work in unison.
Speed adaptive lights.

Simply enough, there is a patent for speed-dependent lights, which will adjust the headlight range depending on speed. At 30 kph the headlight will be wide & short, and as the speed increases to 60 kph & 90 kph the headlight will narrow and extend in distance - basically like a torch with an adjustable head.
Sensors for everything.

With the last patent, Indian are experimenting with placing 21 different sensors around the bike for various purposes, including LIDAR sensors (Light Detection and Ranging) able to measure distances perhaps for intelligent lighting control, and radar sensors.
Some of these other sensors could be simply to function with the aforementioned patents, give rider warnings for blind spots and proximity of vehicles, and even parking sensors - it’s a massive bike, after all.
As mentioned, some of these patents will just be down to experimenting with ideas, and we may not see them on a production model for quite some time - but nonetheless, it’s interesting to see what the R&D department is up to.











