Italdesign patents a smart seatbelt system for motorcycles and scooters
Algorithms will decide if it’s best to keep the rider in place on the motorcycle, or release them in the event of an accident.

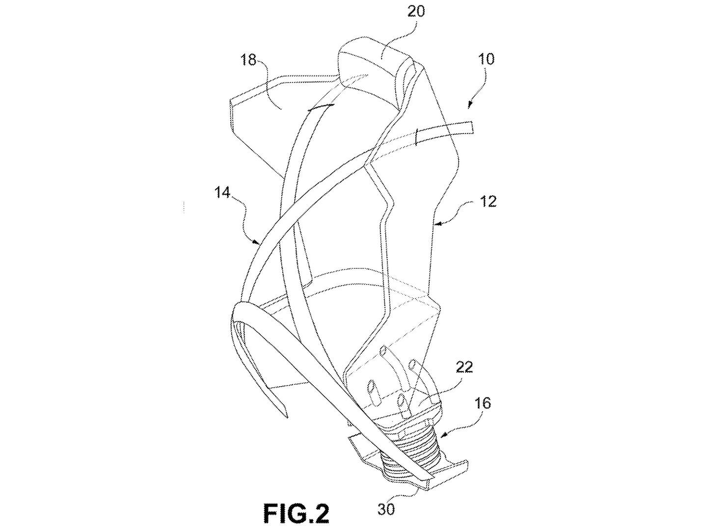
ITALDESIGN has patented a smart seatbelt system to be used for motorcycles & scooters. Capable of recognising the type of accident a rider may be involved in within seconds, the seatbelt system would either keep the rider secured in place in hopes to minimise possible injuries, or release you from the bike.
Cycleworld show accompanying patent drawings that reveal how it would all work.
Watch: Yamaha MT 09 SP vs Triumph Street Triple RS
Riders would secure themselves to a rigid backplate shell in a type of 6-point harness, attached to the motorcycle or scooter via a quick-release mechanism, and operated by an onboard computer.
In the event of an accident, algorithms would instantly be able to identify the best course of action - release the rider, or keep them in place. It’s similar to airbag systems that are starting to find their way to the consumer market, and the algorithms that decide whether or not to deploy protection.
Perhaps an airbag system would be integrated into the backrest for maximum rider protection? If that’s not the case right now, I want a cut of the profits if it gets designed in.

The seatbelt mechanism seems to allow a degree of movement from the rider too, but not quite enough to let keen motorcyclists the leeway to hang off the bike in the twisties. It’s for this reason it may be best suited for scooter riders and in low-speed environments.
Italdesign is at it again - Giorgetto Giugiaro’s Italian design & engineering firm continue to surprise
On the face of it, you can see what the design team are getting at. Seatbelts in cars are naturally a vital component to keeping occupants safe, so transferring that idea over to another road-going vehicle sounds sensible. But when delving into the idea more, I can’t help but shake the feeling that it’s more dangerous than it’s worth.

Being strapped to an uncontrolled machine in any accident situation seems to be far more dangerous than anything. Sure, if you get hit by a car you won’t get sent flying over the bonnet - instead, you’ll be strapped to the bike as it goes the other way, and hit the ground.
In my opinion, it’s always worth experimenting with designs to improve rider safety - fill your boots. But I’m not going to be strapping myself into a bike anytime soon. Plus, it looks like a kids car seat.


.jpg?aspect_ratio=1:1)



