Michelin patent reversing device for hassle-free handling
Michelin could come to the rescue of smaller riders as the French firm patents a reversing device for motorcycles

AS you probably know, I am a bit of a short arse. At five foot seven inches, I’ve never been unable to ride a motorcycle due to my height, but some have been more of a struggle than others.
That struggle could be coming to an end though, as automotive tyre manufacturer Michelin has just patented a device that might take all of the struggles out of big bike ownership.
Head to Head: KTM 390 Adventure vs Honda CB500X
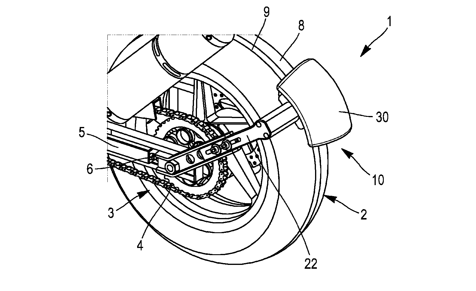
The gadget is powered off its own Li-ion battery and features a couple of small rollers that are mounted in a casing. The casing is held onto the back wheel by a bracket – much like the number plate holder on a modern bike. The rollers are powered by small electric motors, and by moving the rollers they rotate the wheel in either direction.

The motors in the device are reported to be 3.6v items, making them big enough to exert between two and four Nm of force onto the back wheel. This is said to be enough to allow the system to move even the heaviest of motorcycles at a very slow speed.
It’s not totally clear how the system detaches from the tyre under normal riding conditions, or if there is a solenoid in the gearbox that allows the rollers to free-wheel.

Look, it’s not a total earth-mover in terms of technical scope, but as any motorcyclist who is vertically challenged will tell you; quite often the hairiest part of riding a big adventure bike is moving it into a parking space!












