Robo-clutch? Honda patents a ride-by-wire clutch system
Honda has patented a ride-by-wire clutch system that appears similar to the throttle-by-wire systems popular today. Is this a step too far?

FOREVER a contentious topic, electronic intervention on motorcycles has tended to split the community in half. The latest edition to this saga is on the way, in the form of a ride by wire clutch that Honda has patented for use on its future motorcycles.
Operated in a similar way to the throttle-by-wire systems that are now prolific on modern motorcycles and scooters to allow ECU assistance, a ride-by-wire clutch would allow for electronics to get involved.
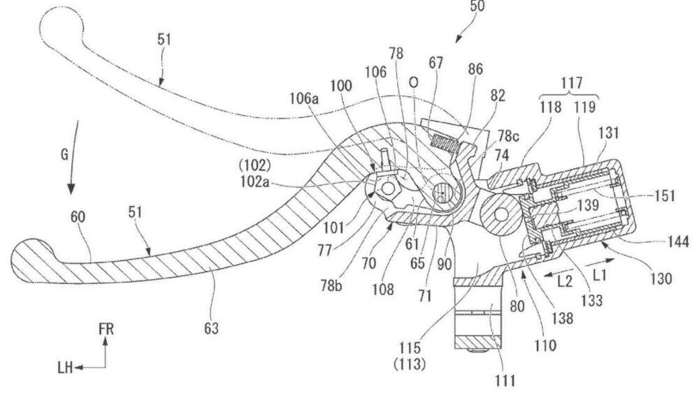
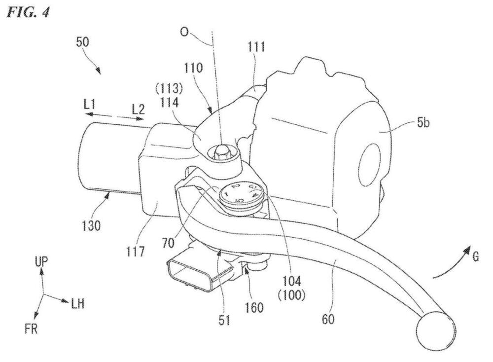
Looking at the patent drawings, and reports from moto.it & Cycleworld, the clutch lever will be linked up to a hydraulic pressure control unit to maintain a typical clutch feel - but will modulate the pressure with an electric pump.
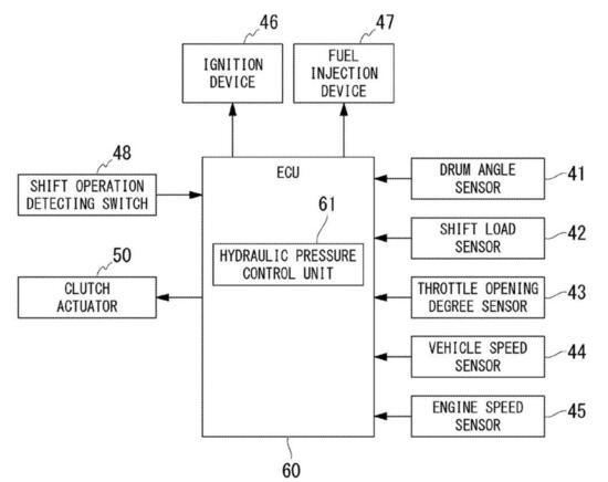
It appears the pressure control unit will also take in data from the throttle opening degree sensor, vehicle & engine speed sensors, shift load and drum angle sensors.
Whilst some may be firmly in the camp of electronics getting in the way of true riding, there will be others that can appreciate the helping hand from the engine control unit to maintain control at low speeds, and allowing for (potentially) quicker shifts at speed.

Honda will no doubt use their knowledge from the DCT system here too, prominently found in the Forza 750 & X-ADV (among others, like the CMX1100 Rebel & Africa Twin) which has admittedly taken a few iterations to get nailed - but they’ve certainly got it down now. We loved it in the most recent reviews.
Is Honda taking electronic intervention too far?
This is another step in taking full control away from the rider, some will say. What’s next, brake-by-wire? It’ll have to be a very intelligent intervention to be of any use. Sometimes a computer can’t account for external forces that may be at play, no matter how smart it may be.

For example, if you need a bonus bit of engine braking when on an incline, and the computer thinks otherwise… sometimes it’s better to have a consistent clutch feel than an ever-changing one.
But to counter my own point, most top-end bikes have 6-axis IMU setups, so it’ll more than likely know what you’re up to.
Seen to be sending off a number of patents recently, including the V4 engine with cylinder de-activation to become a V2, the Japanese giant may (or may not) have plans for this robo-clutch to ever see the light of day, but it’s intriguing nonetheless.

We’ll keep our ears to the ground, keep it Visordown.

-X3.jpg?width=1600)









