What's Erik Buell up to now?
Flawed genius or madman? Erik Buell files another interesting patent


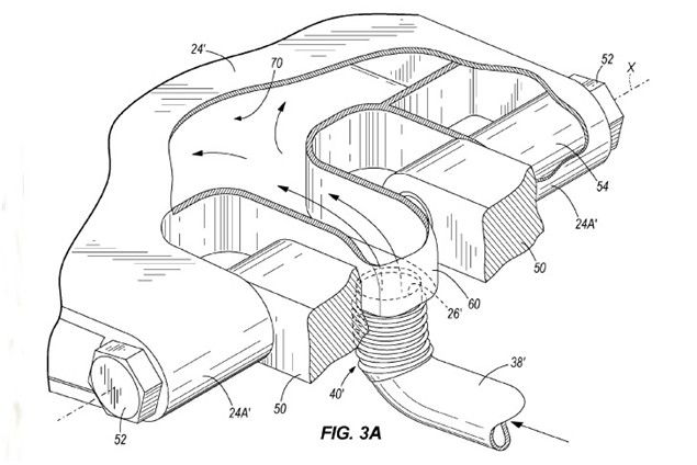
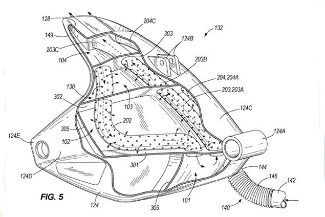
ERIK BUELL has filed another patent and this time it's an exhaust that runs through the motorcycle's swingarm.
In the patent, Buell list's the design as being: "A motorcycle including a swingarm that movable mounts a rear wheel to a main frame of the motorcycle and defines a hollow portion through which exhaust gases are passed before being expelled from an outlet of the swingarm."
The standard downpipe is connected to the swingarm using a flexible pipe that channels exhaust gases into the swingarm where they then exit. The idea, presumably, is to save weight. Although it would potentially add unsprung weight to the swingarm, if the swingarm required extra bracing to support the channels for exhaust gases.
It's a typically Buell design, solving a problem that no-one had in the first place.
Buell filed this patent in April 2009, which means that technically it's owned by Harley-Davidson, Buell's former parent company and not Erik Buell Racing, Erik Buell's new company. However, we don't see Harley-Davidson challenging Buell for the rights to this one.
















