Would You Trust Brake-By-Wire on Your Motorcycle?
With Shimano revealing a brake-by-wire system for mountain bikes, we wonder if the tech could make it onto motorcycles

Engineers seem to have a never-ending desire to delete cables from the face of the earth, and motorcycle braking systems could be the next thing to go wireless.
From Internet routers to fridges that can order your shopping for you, if it’s got a wire to connect it to something else, engineers will have a pop at ‘cleaning’ up the system by making it wire-free. And while we’ve had ride-by-wire throttles on production motorcycles since the 2006 Yamaha R6 first debuted the technology, ride-by-brake isn’t yet a ‘thing’ for motorbikes. It is a ‘thing’ in the four-wheeled world, with F1 cars and even production vehicles utilising the technology. It’s still not in the motorcycle world, though, yet.
Bicycle tech company Shimano might be the unlikely name to change that, after it announced a brake-by-wire system that can be used on high-end bicycles. While we are aware that bicycles and motorcycles are a world apart, it could still be a move that could nudge the technology a little higher up the agenda thanks to bicycle bike disc brakes and motorcycle brakes being so similar in their design and application.

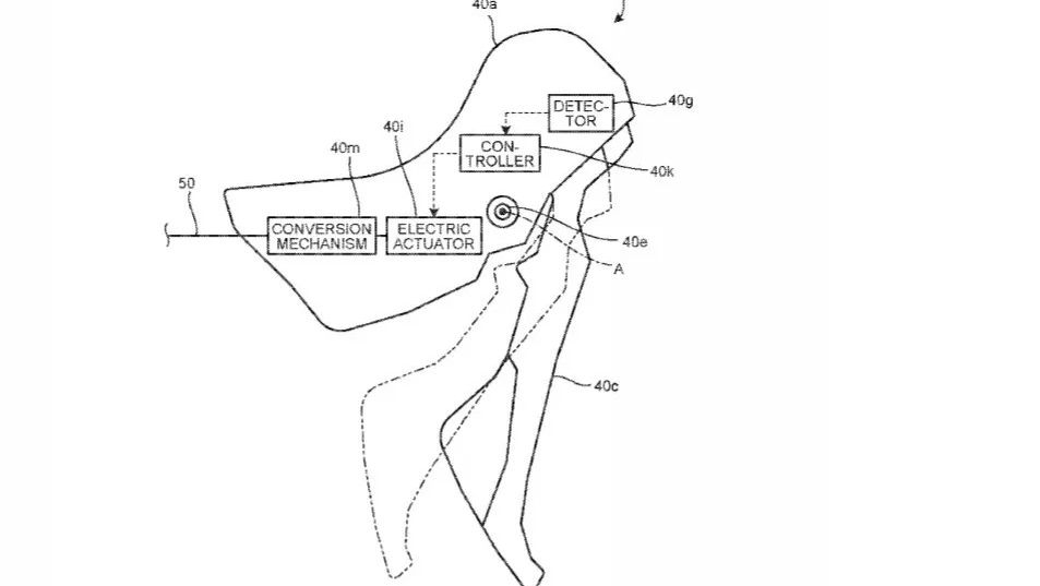
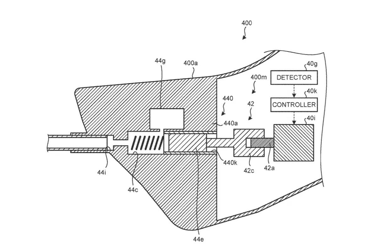
The new Shimano system owes a lot to the Japanese brand’s DI2 wireless shifting technology, which allows actuators and servos to move the bike’s derailleur and removes the physical link between the rider and the gears. In the patent images for the ride-by-brake system you see here, the brake lever of the bike detects the amount of braking power requested by the rider. This signal is sent to an electronic actuator in the caliper that translates the request and applies an appropriate amount of braking pressure to the discs via the pistons and the brake pads.
With the hardware used in mountain bike disc brakes and motorcycle brakes being so similar, it’s easy to see the technology making it into the motorcycle world, although there is no confirmation of that at this time. I am though willing to bet there aren’t many riders out there who would trust a load of zeroes and ones to slow them down as they barrel into Paddock Hill Bend at 130mph.












