Yamaha to introduce advanced rider aids and warning systems on future models
Through the use of radar sensors front and rear, Yamaha plans to provide advanced warnings & rider aids to future model range to improve rider safety.

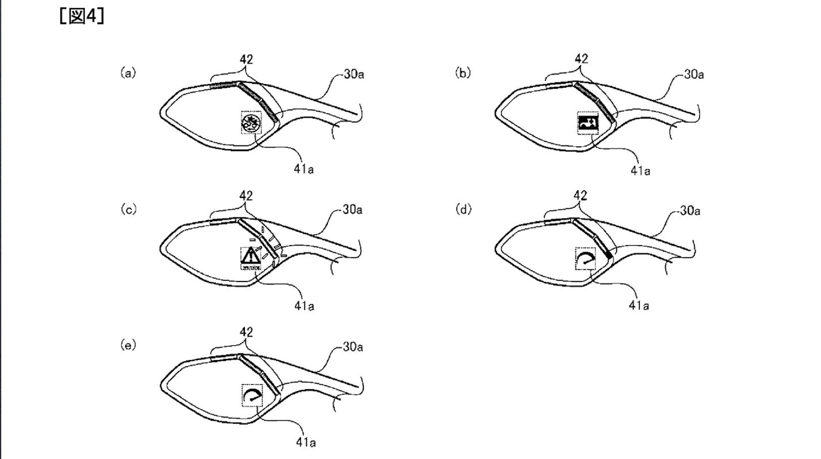
In a constantly evolving and rapidly advancing world, motorcycle safety is often at the forefront of upgrade lists for manufacturers to consider. Next up for Yamaha is the development of advanced rider aids, through the deployment of radar sensors and mini-displays in the wing mirrors.
Some may say that this is all getting a bit much - how much information is too much? With the prevalence of TFT dashboards on modern bikes with an abundance of information fed to you constantly on the road, is the addition of further rider aids and info nearing excessive levels?
Regardless of your opinion, Cycle World explores what is on the horizon via filed Japanese patents, which appear to be aimed at the range-leading R1 (but is thought to be prepped for all models).

Through the use of radar sensors and detectors, the Japanese giant plan on displaying additional information through icons appearing in mini displays behind the wing mirrors. Icons include those for: impending collision (proximity to vehicle in front) warning, emergency vehicles approaching from behind, blind spot warnings, speed limit sign warnings & ‘overspeed warnings’ (which sounds a lot like the impending ISA auto-speed limit introductions).
Further noted is a vehicle-to-vehicle communication system, which could warn of upcoming dangers en-route that riders/vehicles in front have encountered.
Displaying information in wing mirrors is not exactly groundbreaking for the automotive industry, our 4-wheeled cousins have enjoyed LED lights in their mirrors for blind spot warnings and rear-proximity detectors for a number of years, but introducing actual displays in mirrors is a step forward for rider aids in bikes.

This takes me back to the initial point, how much information is too much? Biking has forever been something that brings you to the roots of transportation. Simplistic by nature, the art of riding encourages you to be fully aware of your surroundings. Both for self-preservation, but also sheer enjoyment of two-wheels.
How much safety is 'too much' with Yamaha advanced rider aids?
Introducing further safety precautions to riding is not a bad thing, don’t get me wrong. Cornering ABS, intelligent rider aids and a variety of riding modes all lean in the favour of rider longevity, and if it’s non-intrusive and placed in the open real estate of a wing mirror, it’s sure to help.
The only concern is the rising cost of bikes, and if these safety features will be optional or included as standard. If made mandatory by the rules and regulations of an ever-imposing governmental authority in the name of safety or not, it’s difficult to argue in the face of safety.

Perhaps this is a cynical view, mind. More safe is more good, after all, and the inherent danger of riding is often touted as a reason that bikers turn away from two-wheels. Making riding as safe as possible makes us safer on the roads - again, difficult to argue against.
What do you think? Let us know your thoughts on social media.











