Zero Patent Shows Clutch System for Electric Bikes
A patent filed by Zero Motorcycles shows how a clutch system for electric bikes could take shape

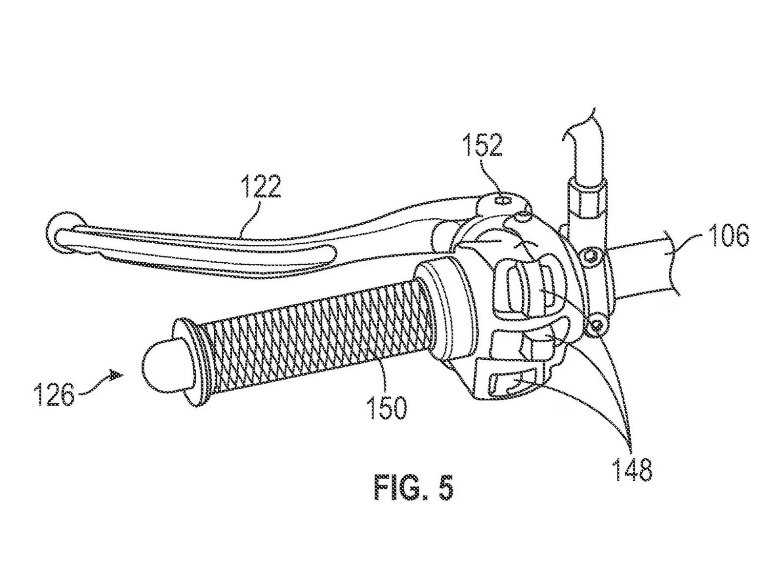
Zero has filed a patent for an innovative clutch system that could be featured on the brand's all-electric machines.
The system, reported on by Ben Purvis of Cycle World, is claimed to give the rider more feel while making the act of riding an electric bike a wholly more engaging experience. The system operates just like a conventional clutch, and would even allow the rider to ‘dump the clutch’ just like they would on a conventional internal combustion engine (ICE) bike.

While interesting and innovative, a clutch on an electric bike is not a new thing, with the ill-fated Brammo using a similar system on its Empulse R, and more recently Electric Motion using a clutch on its EPure electric trials bike. Kymco has also been playing with the idea of a clutch on an electric bike, with its RevoNex and SuperNex models boasting a hydraulic clutch mated to a conventional six-speed gearbox. The system on the Zero though doesn’t require shifting gears, something that could be done on the Brammo, and is merely a way of modulating the bike's torque at low speed and also its regenerative ‘engine’ braking.

Explaining the patent further, it reads: “For example, rapidly releasing the left-hand control lever from its fully engaged position may cause the controller to demand a short burst of torque from the motor that exceeds the torque demand indicated by the position of the throttle, simulating or replicating the feel of ‘dropping the clutch’ in a vehicle that includes a multi-gear transmission and clutch.”
It’s thought that the first bike to gain the system would be the SR/F, as that is the bike shown in the images, although with that bike being very similar to the SR/S sports tourer and the DSR/X electric adventure bike, it’s safe to assume it could also make an appearance on one of those machines.

_1.jpg?width=1600)










