BMW developing motorcycle crumple zone idea... and it's really simple
BMW Motorrad patents technology to build in a crumple zone into a motorcycle to help protect riders in a SMIDSY situation

While motorcycles have become faster and more advanced over the years, the basics of safety on two wheels have reached more of a plateau in terms of innovations to help riders when that unavoidable crash does happen.
Indeed, while motorcycles have come on leaps and bounds with tech designed to prevent accidents such as traction control, ABS and radar assistance, there has been less focus on moving things forward when it comes to protecting the rider – beyond clothing - in the event of an actual crash.
However, this doesn’t mean there is something that can’t be done with BMW revisiting this area and coming up with an idea so simple it’s remarkable to think it’s taken until 2020 to be developed.
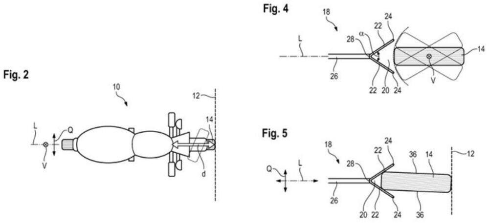
With most motorcycle accidents classified as SMIDSYs (Sorry mate, I didn’t see you) whereby a vehicle will drive out into the path of a motorcyclists, giving scant time to react, the ensuing impact sends the front-wheel to the side and forces the handlebar out of the rider’s hands. In these situations, the rider receives the full brunt of the impact.

However, BMW has patented an innovation that sees a simple V-shaped component sit behind the front wheel. In the event of an accident, the front-wheel pushes back but the component stops it swapping to the side and holds it straight to ensure the wheel, rim and forks acts as a crumple zone of sorts and absorbs a portion of the impact away from the rider.

While the sheer variety of accidents that can occur in these situations – such angles and speeds – means this is unlikely to be a wide-reaching solution to a perennial issue, if it can save just one life then it’s done a worthwhile job.
It remains to be seen whether BMW will pursue these patents and we’ll see it on the roads any time soon, but given the manufacturer’s record of pushing on with safety solutions – think the BMW C1 scooter with its roof – and this idea’s apparent simplicity we’re confident it will see the light of day eventually.











