Detailed patents show Kawasaki hybrid is getting closer
Highly detailed patents of the Kawasaki hybrid motorcycle’s battery show the project is continuing at pace

IT’S been no secret that Kawasaki is one of the big four manufacturers that is taking future fuels very seriously indeed.
We’ve already seen a number of patents relating to the bike, including the recent teaser video showing the bike being tested on the dyno.
Now though we can see the battery pack of the back, in a level of such high detail that it could only be almost production-ready.
2021 Kawasaki Ninja ZX-10R and ZX-10RR revealed
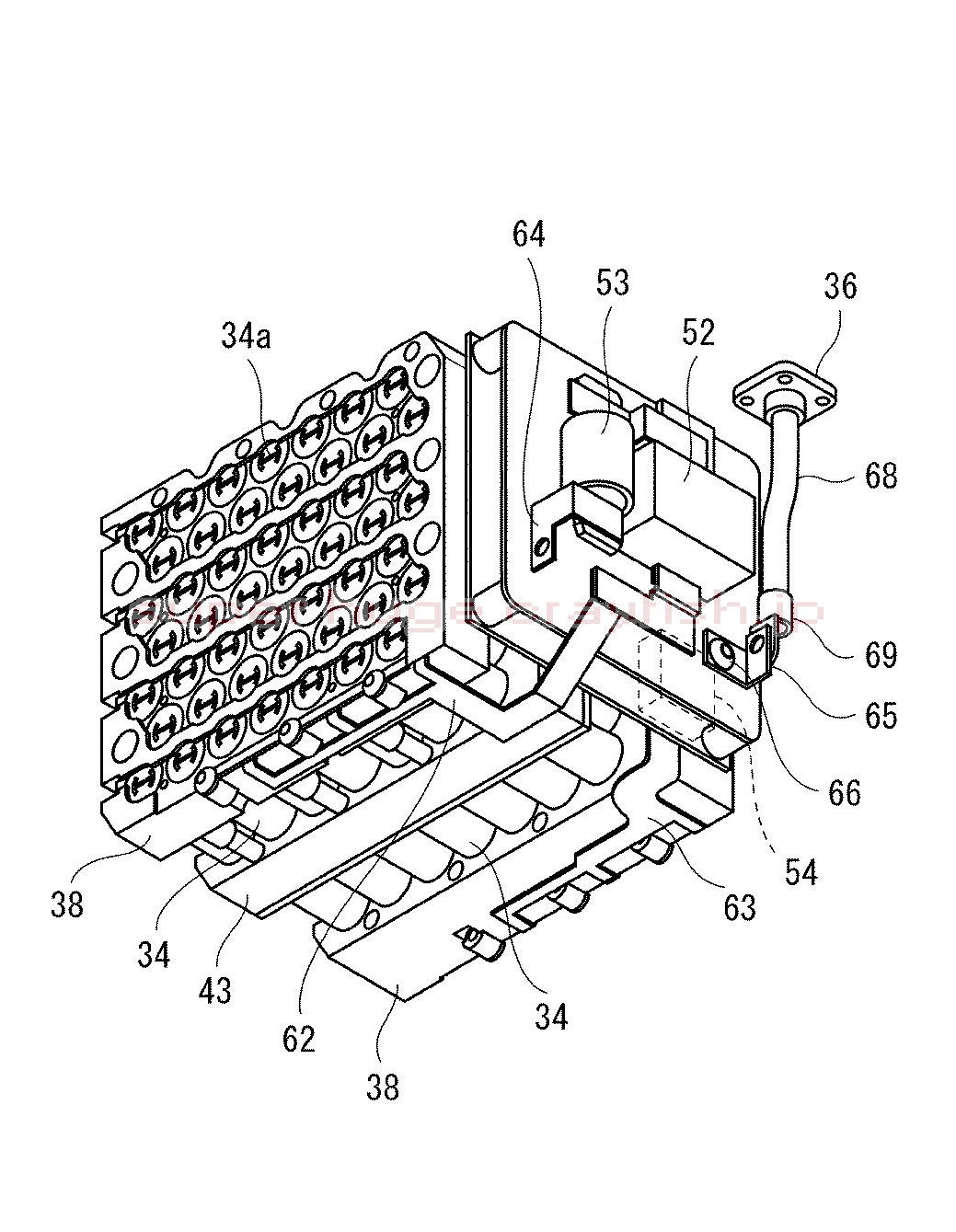
The patents that see here relate to the battery casing for the energy storage system of the hybrid. That alone could make for a rather tedious article, but there is more on show here than just the outer casing of a battery.
The interesting part comes in the level of detail Kawasaki has gone to, especially relating to the internal parts of the battery and the way the cells are aligned and linked together.
Like most large battery packs, the system on the Kawasaki is made up of lots of smaller lithium-ion batteries linked together.

In the image above we can see an extremely high level of detail, with the parts being confirmed as 51 – battery management system, 52 – relay, 53 – fuse, 54 – current sensor, 64 and 65 – battery terminals (both positive and negative).
The patent even goes as far as showing external detailing, like the cooling fins that cover the outer casing of the battery.
What makes these images exciting for me is that it would have been very easy for Kawasaki to run a mule or very early prototype hybrid on the dyno – as seen in the earlier article. These patents go a long way to proving that this project is much, much closer to completion than that.
We might actually have the first, viable, production hybrid motorcycle on the road in the next two or three years. And whether you like electric-powered bikes or not, that’s an exciting prospect!












