First patents emerge that could show Honda CB1100 replacement
This first patent images show that Honda could well be working on a replacement for the venerable CB1100

WITH Honda teasing CB1100 Final Edition models back in September, it's clear that the end is in sight for the firm’s much loved retro roadster.
Removing the bike from its line-up though will leave a significant, air-cooled hole in the upper end of the Honda range. Today though, we might just have the bike that is likely to replace the much-loved retro on our screens for the first time.
It’s really no surprise to hear that at its heart is the 1084cc parallel twin-cylinder engine that is shared across the Africa Twin, CMX1100, and new NT1100. That’s right, Honda’s next flagship retro won’t be the air and oil-cooled retro homage of old. And that is a crying shame!

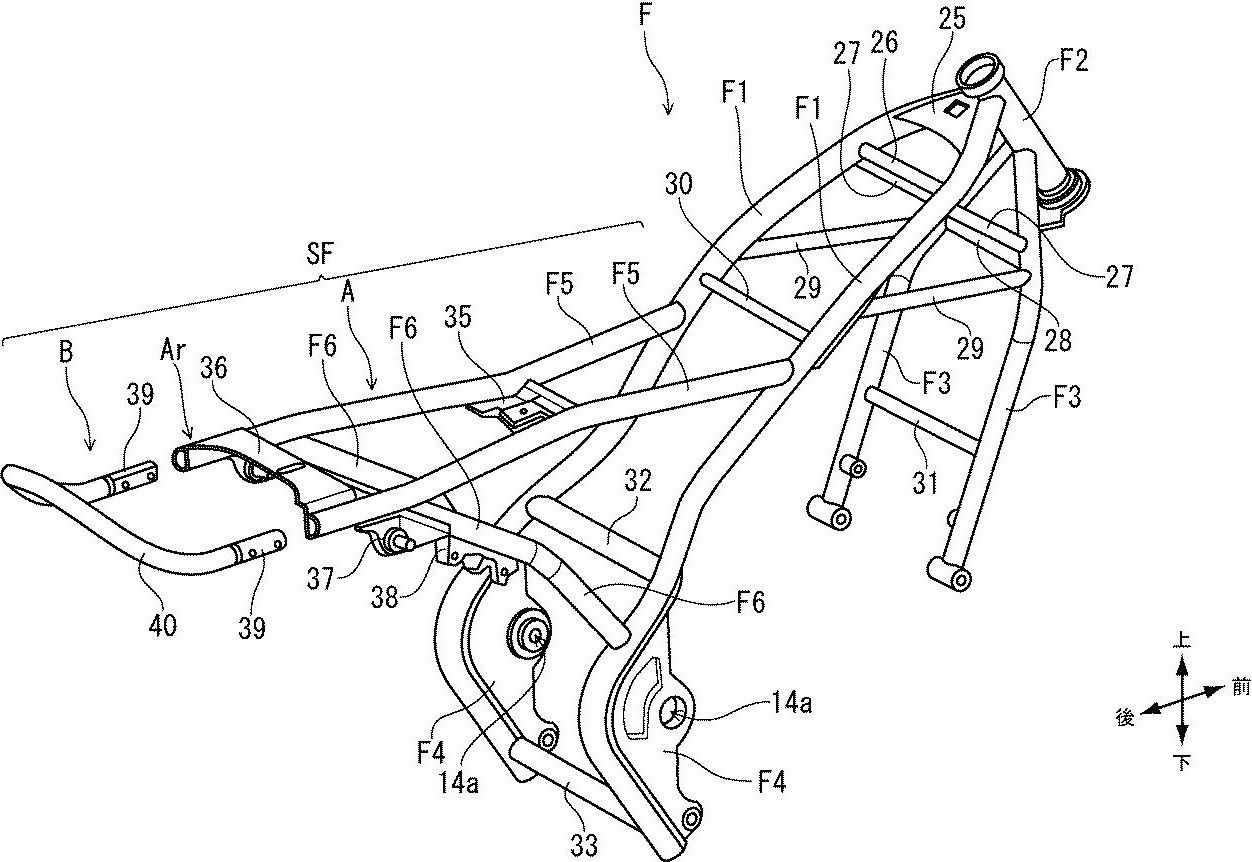
What we can see is a frame that is not dissimilar to that found on the CMX1100 Rebel, although the sub-frame and seat are extensively updated to accommodate rider and passenger. The seat is significantly higher than that found on the CMX too, and the rear-sets are also mounted further back and slightly higher than on the CMX. The upper line of the bike shouldn’t be taken too seriously, although you can see that the line and style of the machine is along the lines of a big-bore retro.

Away from the styling, the geometry and engine position of the new bike look to be much like that found on the CMX – and that’s really no surprise. Keeping the front end and engine positioning the same should help to drive down manufacturing costs, and shorten the time taken to get a bike like this to market.
How do you retro up the Honda CB1100 replacement?
If there is one thing that stands out like a sore thumb in all of this, it’s the engine. I said it on the CMX1100 Rebel review. And I stand by my comments. Parallel twin-cylinder engines are not the most attractive designs. If you are making one the focal point of a bike – as naturally the way with a retro or cruiser – you need to do something to dress it up a bit. Triumph are masters of that, and Honda is going to have to sprinkle some magic on this to make half as attractive as the engine found in the CB1100.












