Harley-Davidson working on emergency automated braking system
A patent filed by Harley-Davidson shows the Milwaukee-based manufacturer is working up a kind of emergency braking system

NEW patents filed by Harley-Davidson show that what could become a kind of automated emergency braking system for future models.
Harley-Davidson LiveWire (2020) Review
The system is not designed to work in the same way as adaptive cruise control being used by a number of manufacturers this year and is being described as more of a crash avoidance system, only to be called upon in an emergency.
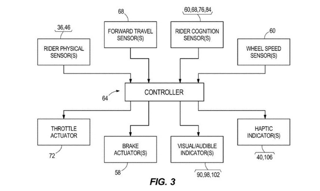
The system uses an array of sensors, many of which could feasibly be shared between this system and adaptive cruise control, which monitor the bike's surroundings and also the rider. The system utilises a camera on the dash that looks back at the rider, and also sensors in the handlebar grips and seat.

Another clever piece of tech that is mentioned is the use of a helmet-mounted camera that is aimed at the rider’s eye. Vision tracking technology is capable of not just checking that the eye is open, it can also judge in what direction the person is looking, ensuring the rider is focussing on the road ahead.

Before the bike takes any sort of action, a series of warning lights and haptic and audible warnings will take place, calling for the rider to react. Should they not respond, the system will begin applying the bike’s brakes slowing the vehicle to a stop, where presumably the bike and incapacitated rider topple over.
Another feature of the system that is described in the patent is that the system can deem how much is enough braking power for a given situation, meaning it can actually add in some braking force if the rider is not applying enough themselves.
.jpg?width=1600)
.jpg?width=1600)










