Honda files patent for pre-chamber ignition system
Pre-chamber ignition has been around for decades although these Honda patents could show the first time the tech has been used on two-wheels!

NEW patents from Honda show the possible first time that pre-chamber ignition could be used on a production motorcycle.
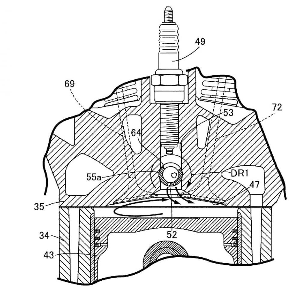
The new system uses a small chamber that allows the spark-plug to ignite the air/fuel mixture, prior to it expanding its way into the main combustion chamber. The pre-chamber is separated from the combustion chamber by a series of small holes, these are designed to split the flame front (the leading edge of the expanding explosion) into smaller explosive jets. It’s this feature that allows the engine to use a leaner mixture that generates less harmful emissions.
2021 Honda X-ADV revealed
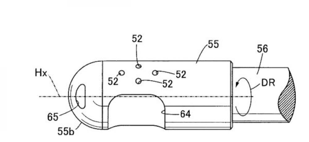
The tech that Honda is proposing in the patent does differ from that found in the F1 cars on the grid. The pre-chamber seen in the patent is able to rotate, while on a combustion stroke the chamber rotates allowing the gases to pass through, while on the compression stroke it turns to show a sealed side.
The Honda patent also utilises two injectors, one is used to deliver fuel to the combustion chamber, while the second is used to deliver fuel to the pre-chamber only.

What is pre-chamber ignition and how does it help?
Pre-chamber ignition is exactly what it sounds like, a small chamber that is usually partitioned from the main combustion chamber. There are two types of systems in use, active and passive pre-chamber ignition systems. Active pre-chamber systems (as with the Honda patent) contain a spark plug and fuel injector. The mixture is leaner than in a standard engine. This lean mixture is then ignited, with the flame front moving from the pre-chamber into the main combustion chamber of the engine. Normally, this mixture wouldn't have enough fuel to ignite on its own, but the fuel from the pre-chamber is enough to create an optimal air-fuel ratio, and speeding up the combustion process, improving efficiency.

Passive pre-chamber systems only feature an ignition source, like a spark plug. In this set-up, there is no extra fuel added to the pre-chamber. When the spark plug in a passive system ignites, the flame totally covers the combustion chamber and makes for a very quick combustion cycle. This type of ignition also allows engineers to run higher compression ratios than they ordinarily would. Increasing performance and improving emissions.












