Kawasaki patent three wheeled motorcycle design
New patents show what could be Kawasaki’s first serious foray into the three-wheeled motorcycle market

AS three-wheeled motorcycles move from obscure oddity to mainstream machines, more and more manufacturers are looking to three-wheeled bikes as a way of diversifying their ranges.
Following on from the Yamaha Niken we have this patent which could show us what Kawasaki’s take on the three-wheeled motorcycle could look like.
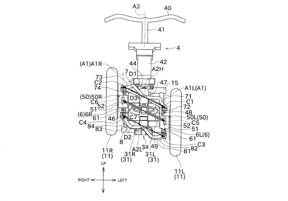
Unlike the Niken though, the Kawasaki goes about the three-wheeled question in a totally different way. Where the Niken uses a leaning front end, with suspension supports mounted on pivoting mechanisms, the Kawasaki looks to use a quadrilateral design.

In this design, the front wheels of the Kawasaki move independently of each other while still remaining on the vertical plane, with no leaning action at all. The whole design is supported by a single, centrally mounted shock absorber mounted at the front of the engine.
Interestingly the Kawasaki has a much sportier stance than anything that’s come before it, with a low and long aesthetic that makes it look much more sports than a sports tourer. Could this be the first performance three-wheeled bike we’ve seen to date?
The patent could be the first sign that Kawasaki is beginning to bring its J Concept to life, a bike we first saw in the winter of 2018 in the concept video below.
While the J Concept is clearly an electrically or alternatively powered machine, it’s not clear what the propulsion method of the bike in the patent is. An electrically powered three-wheeler would sit in a class of one in the industry, it would also make what is already a hard sell an even more difficult proposition for Kawasaki to market.












