Kawasaki working on Polaris Slingshot rival
Patents filed by Kawasaki show a three-wheeled vehicle that could rival Can-Am and Polaris

PATENTS filed by Kawasaki show that the Japanese giant could be working on a tilting three-wheeler, the like of we’ve never seen before.
Rather than looking like a convention leaning multi-wheel motorcycle (like the Niken), the machine seats a driver and passenger sitting feet-forward and side-by-side, just like a conventional car. The machine features two-wheels up front and one at the rear, meaning it would be going up against machines like the Polaris Slingshot.
Kawasaki Z H2 video review
The Kawasaki though differs massively from the Polaris though, in that instead of conventional wishbone suspension, the Kawasaki leans or tilts its chassis as it goes through corners. What’s even more interesting about the system is that instead of leaning the front wheels into the direction of the corner, the system show keeps the wheels completely vertical and instead tilts the chassis of the vehicle.

With patent images also show that as the chassis of the machine tilts, the rear wheel also leans into the direction of the turn, meaning a rounded motorcycle-type tyre would be used at the front and conventional car tyres at the rear.
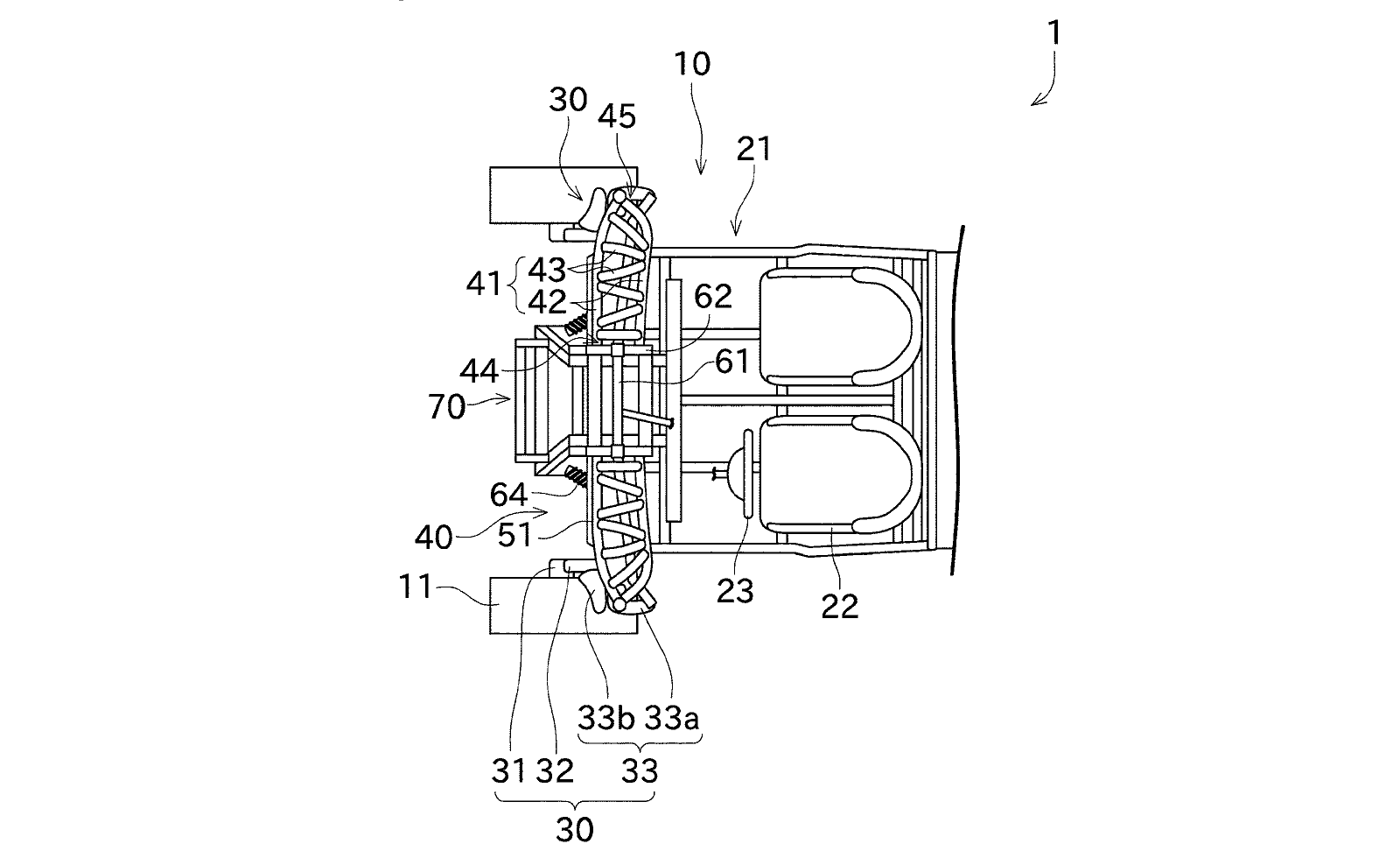
The front wheels are suspended by two fork tubes, not dissimilar to the Niken, with each set of fork tubes fitted with a steering link. The tilt is obtained is by the arms marked #40, #41, and #51 in the diagrams transferring an upward and downward motion on the corresponding sides.

The power for the unusual machine can be either petrol, fully electric, or even hybrid, with the engine or motor being mounted behind bulkhead which the passengers sit against.
While Kawasaki is well known for building unusual vehicles, they currently make a whole host of ATVs and UTVs, this machine would be a huge change for the firm. With much of the patent information relating to the tilting mechanism at the front, it could be that they are more interested in protecting that for use on other, less unusual forms of transport further down the line.











