Piaggio flips the MP3 in new leaning three-wheeler patent designs
Piaggio appears to be working on new tricycle technology that flips the MP3 architecture that puts two wheels at the rear and one at the front

Regardless of whether you consider the Piaggio MP3 ‘trike’ to be a genuine motorcycle there is no denying the unusual scooter has certainly found its niche based on the increasing number being seen on European streets.
Indeed, Piaggio broke the mould with the MP3 – a leaning three-cylinder that’s almost impossible to drop – when it was launched in 2006, prompting a handful of other manufacturers to follow suit in recent years.
Now Piaggio looks set to flip the technology on its head, literally, if these patents are anything to go by with the development of a new machine that puts just a single wheel at the front and two at the rear.
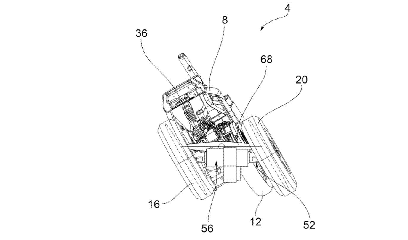
While this isn’t a new innovation with Harley-Davidson’s Tri Glide Ultra a forerunner of this configuration – not to mention various customs – these patents show this new model will perform in a similar manner to the MP3 by leaning into corners for more versatility and manoeuvrability.

Looking a bit like Stewie Griffin’s ‘big wheel’ in these basic drawings (Google it if you don’t know what we mean), the patents – which could well form the basis for an alternative MP3 model – maintains a conventional engine and a twist-and-go transmission, but the front wheel is larger and could suggest a more ‘sat-back’ riding position.
It is very possible though that these patents are merely focused on the rear of the machine, with the single front-wheel a ruse that could be throwing us off the machine’s potential to being a four-wheel leaning tricycle using technology that has been showcased by a number of urban mobility start-ups recently.

While we don’t expect this to be a replacement for the MP3, it could provide an interesting new addition to the quirky model’s range.











