Whacky Kawasaki Concept-J tilting bike revealed in patents
The Kawasaki Concept-J tilting bike from the Tokyo Motor Show is looking more serious in new patent drawings

IN 2013, Kawasaki made the bold move of revealing a concept ‘motorcycle’ with a four-wheeled design that could tilt into turns and morph into different ergonomic styles.
New 2021 Kawasaki ZX-10R and Ninja ZX-10RR
At the time the electrically powered machine was widely dismissed as being too ‘out there’ to become a feasible future model. We’ve come a long way though in the last eight years, and Kawasaki looks to be throwing some credibility at the concept with a series of patent drawings showing how it could work.

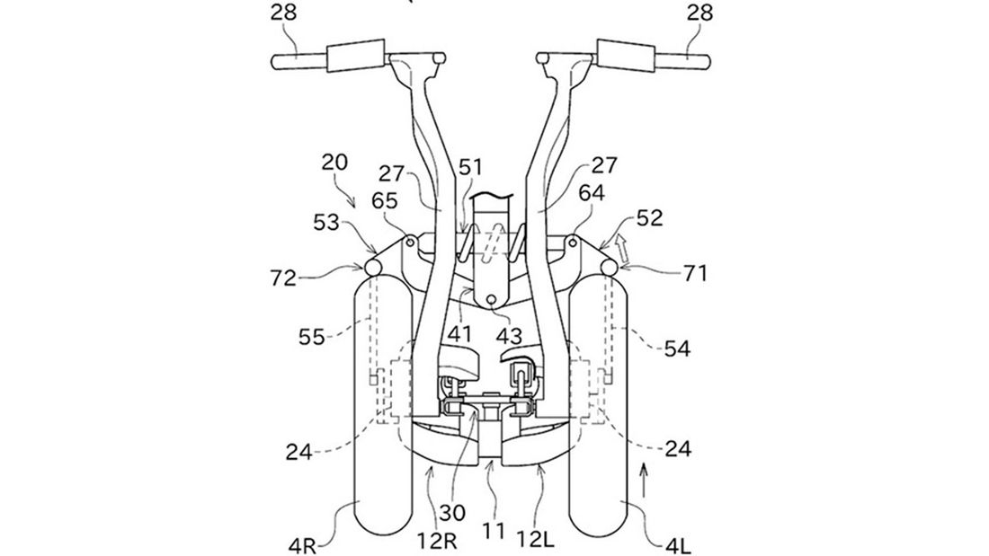
The bike seems to be pretty faithful to the original machine, although with the bodywork removed it looks less like an extra out of the movie Tron, and more like a legit model from the Japanese brand.

It features two front wheels, with each suspended by its own swingarm that is, in turn, mounted to a handlebar. The two front wheels share a single transversely mounted damper that you can see just above the front wheels. The only link the two wheels have is the pivot point just below the damper. This allows the front wheels to maintain the same path through a corner.

One change from the Concept-J of 2013 is that the wheelbase seen in these patents looks to be fixed and not variable as it was then. The bike in the video below could adjust its wheelbase for a given application, comfort, sport, or touring for instance. Each would offer a different riding position, with the bike transforming between states at the push of a button. It was a neat idea (and one that Damon has picked up and run with on the Hypersport electric model) although with the already complex front end taking up a lot of space, Kawasaki obviously saw fit to ditch it on this particular machine.
Will we ever see this in production? Well, it’s unlikely. But as we’ve seen with these latest images, Kawasaki isn’t averse to revisiting previous ideas and throwing a bit of realism on the table.
Never say never!












