Yamaha files patents for leaning electric trike
Patent diagrams closely resemble EC-03 currently on sale in Europe


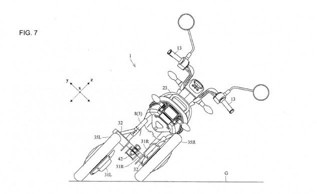
YAMAHA has filed patents with the European and U.S. Patent Office for a leaning electric three-wheeler.
Scooters like the Piaggio MP3 and Yamaha’s Tricity have two wheels at the front and a third wheel at the rear - this scooter will get a conventional single front wheel and two rear wheels, each powered by an electric hub motor.
The patents focus on the electric motor controller and decreasing the weight of the battery and extra wheel.
The diagrams show a scooter that closely resembles the Yamaha EC-03 electric scooter, currently on sale in Europe for £1,199. It looks to share the same front end, frame, seat and battery location as the EC-03, but uses an extra wheel and swingarm, and a design allowing it to lean.
The two-wheeled EC-03 makes 1.4kW of power at 2,550rpm and produces its maximum 7.1ftlb of torque at only 280rpm. Its minimal design and lightweight 50V/15Ah Lithium-ion battery means it weighs only 56kg ready-to-ride.











