Yamaha reveals hybrid maxi scooter in patent applications
Yamaha is pushing on with the idea of fitting a hybrid powertrain to a motorcycle, as patents reveal a maxi-scooter featuring the system

YAMAHA is one motorcycle manufacturer more than sees hybrid drive systems as a method of bridging the gap between petrol power and fully electric propulsion. After first flirting with the theory in the 2000s, and again earlier this year, the firm again looks to be working on an all-new dual-power design.
Yamaha MT-07 specs, details, features
The idea of a hybrid motorcycle has been around for as long as the hybrid-powered car. Although the uptake on two-wheels of the tech has been much, much slower. One of the problems with Hybrid powertrains in bikes is that you are effectively doubling down on the heaviest and most expensive parts of a motorcycle. This makes not only packaging the design up tricky but trying to get all this expense past the bean-counters is almost as difficult a task.
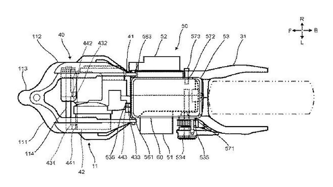
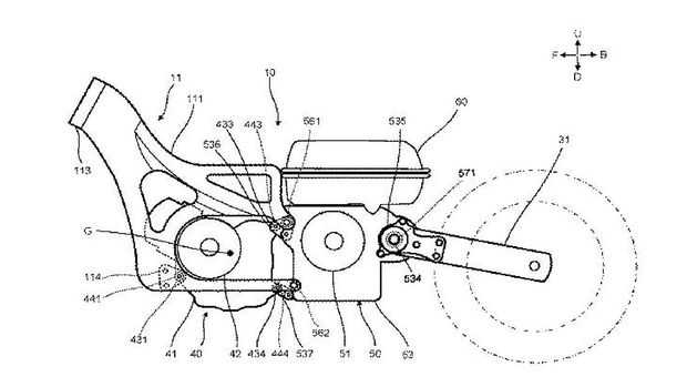
The patents from Japan show a serial hybrid system that uses the combustion engine purely as a range extender to the electric motor. In this way, the petrol part of the bike has no direct connection to the ground. Instead, its only task is to generate electricity that will be poured back into the batteries.

The advantage of this type of system is that the petrol engine only ever has to work within a specific rev-range and under a pre-determined load. Because of this, the emissions that the petrol engine releases can be finely tuned, massively reducing the volume of noxious gases produced and increasing the efficiency of the engine.

Obviously, we have no official specs regarding the range of this bike. It’s simply too far off in the distance for that. We can conclude that it’s more than just a blue-sky idea some bright spark in the design team has had. The level of detail held in the patent, especially around how the engine and electric motor mount in the frame, point to a serious amount of thought that has gone into this.












