Patent Shows Suzuki’s Unused MotoGP Aerodynamics
New Patents show aerodynamic packages Suzuki was working on before exiting MotoGP
MotoGP suffered a huge blow at the end of 2022 when Suzuki shockingly decided to exit the world championship.
The Japanese brand’s two main reasons for its withdrawal were ‘financial challenges’ and ‘changing market trends’, while carbon neutrality and sustainability were also cited as reasons.
What was even more shocking is that Suzuki left the racing scene at a time when it had just won the MotoGP championship with Joan Mir in 2020, while also ending the 2022 campaign with two wins in three races, thanks to Alex Rins.
Suzuki, which like Yamaha perfected the in-line four engine, was quickly becoming a force to be reckoned with, just as Honda and Yamaha, who had dominated the championship for many years began to falter.
Suzuki was still part of the championship when the new F1-style aero advances came into force, led by Ducati which in some ways has revolutionised MotoGP with its extensive use of aero elements. It was clear that Suzuki had begun to find its trajectory to be successful after becoming one of the fastest bikes in a straight line, which was in large part because of its new aero package, while also being one of the bikes that turned the best.
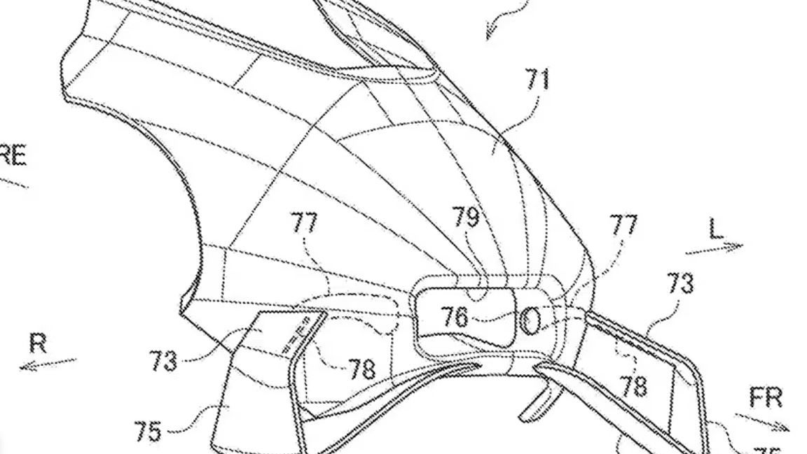
But that didn’t stop Suzuki from leaving MotoGP and as a result destroying nearly all its prototype machines, which is incredibly sad to think of. However, new patents have come out showing aerodynamic packages Suzuki had been working on before pulling out of the championship.
Seen in the images, one of the aero packages Suzuki was working on included a ducted winglet in order to provide more downforce under extreme acceleration, braking and cornering, while providing less drag on the straights. We don’t know whether this was ever tested by Suzuki or if its MotoGP exit came too soon.

The first winglets, which Suzuki also developed for its own MotoGP bikes, were built onto the front fairing. As of 2024, winglets are everywhere you turn, including low down on the side of the bikes and even on the rear of some bikes, such as Ducati, Aprilia, KTM and Honda.
The new patents also show that Suzuki worked on an idea where the upper and lower winglet designs had slots underneath them, increasing the effectiveness. The ducts shown are controlled by valves and could have provided a manual or electronically operated device which would have turned air flow under the fins on and off for different conditions.
Find the latest motorcycle news on Visordown.com.


 (1)_0.jpg)









