Thinking inside the Boxx
Patent drawings reveal what is inside Boxx Corp's oddball electric scooter


OF the various companies promising revolutions in personal transport via battery-powered bikes Boxx Corp's planned 2013 machine – a one-meter-long device that seems to be styled by Samsonite – is one of the more intriguing.
Sure, small bikes have been tried before, from WW2-era paratrooper scooters, via Monkeys and the Motocompo, but electric power adds a new flexibility to the concept of the bike-in-a-suitcase idea.
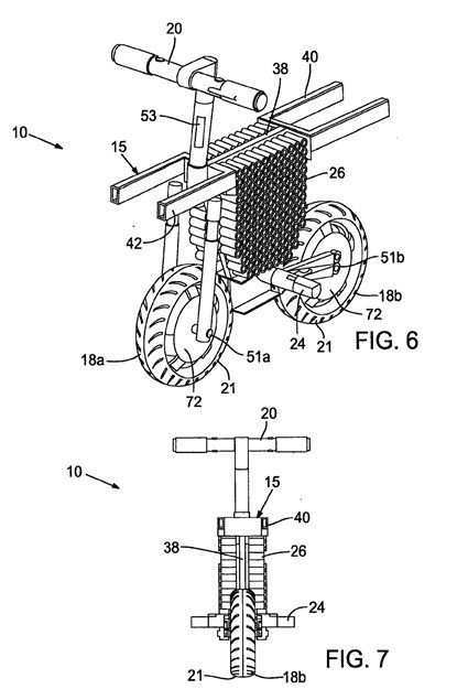
And now we can see what's underneath that cubist skin thanks to one of the patents filed by Boxx. It turns out that the Boxx really is a box, and it's simply full of batteries (and despite appearances, we understand they're not just AA Duracells).
By using in-wheel motors, the Boxx is 2wd and has no need for any motor, gearbox or drive belt/shaft/chain. Aside from uber-simple suspension and a frame that's so simplistic it's probably better thought of as a bracket, there's nothing but battery space inside. Oh, and a computer that provides extra goodies including traction control.
Refreshingly, the makers aren't claiming it will break the sound barrier or have a range that will take it to the moon and back – just that it will do something in the region of 30mph and cover up to 40 miles between charges for $4k (US). An extra $600 doubles the range via a bigger/better battery pack.
If deliveries, promised next year, happen on schedule, and presuming the bike lives up to its modest promises, it could make a decent inner-city alternative to a moped. The small size, unthreatening appearance and safety promised by 2wd and traction control could make it a hit with commuters who'd never dream of a conventional-looking bike. It could even achieve the dream the Honda Motocompo was intended to realise back in the 1980s; namely of being a vehicle that could be carried in a car, so longer-distance commuters could park out-of-town and ride the last few miles to work. In an era of congestion charging and virtually impossible parking, that concept might finally be of age.
Of course, if you're reading this, you probably ride a 'real' bike. The Boxx – while interesting – isn't really aimed at you. But it might be the sort of thing that could tempt a new generation onto two wheels.












