BMW patents gesture control system for motorcycles
With a wave of the finger, you could control your BMW motorcycle - or at least the settings - how very futuristic!

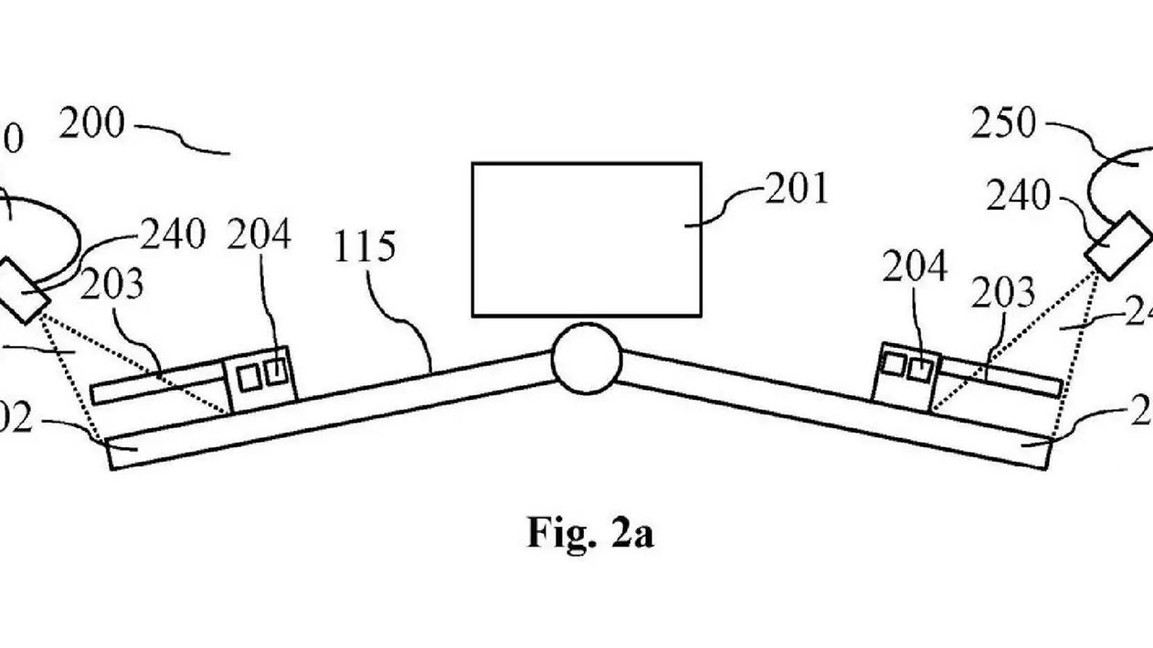
BMW has patented gesture controls for motorcycles, with drawings showing the potential setup of sensors pointed at the business ends of the handlebars.
Cruising down the road and gesturing madly at your motorcycle may start making a lot more sense.
BMW R18 Review
Patent drawings show sensors on both ends of the handlebars - which are thought to be mounted to the underside of the rear-view mirrors, handguards, or elsewhere - and are capable of detecting slight movements of the rider's fingers in order to control settings in the system.
The thought is that by allowing the rider to keep both hands on the handlebar they can maintain full control of the motorcycle whilst navigating the myriad of rider-aids now found on bikes. Adjusting cruise control settings, changing rider modes, managing Bluetooth settings, it will all be possible with gestures.
BMW patent a motorcycle gesture system - exercise those fingers

It’s reported that BMW would look to use specific gestures, like spinning your index finger, sliding a finger left/right, lifting a finger vertically (etc.) would all mirror specific functions on the motorcycle. Be prepared to learn some sign language to communicate with your bike!
Gesture control isn’t exactly a new technology, mind. BMW first introduced gesture control in their cars in 2015. This wouldn’t entirely replace buttons and switches, but be an added means of adjusting certain settings on your bike.
It’ll be vital that the sensors can detect a gloved hand moving under the guise of darkness if it is to work well, and the sensors may therefore include an aspect of infrared in the sensor.
.jpg?width=1600)
It’s understandable that BMW wants to streamline how a rider can navigate through the many menus and settings on their motorcycle, with switchgears getting increasingly complex as you work your way up the motorcycle hierarchy.
Is this a fad for fad's sake, a means for a motorcycle manufacturer to list another ‘key feature’ as a selling point on a future model, or is this an ‘index finger spinning right & pinky finger down’ step in the right direction for safer interactions with a motorcycle? I’ll leave you to decide.











