Harley-Davidson to champion group-guided cruise control

Harley-Davidson is applying for a patent that will enable groups of riders to maintain a constant speed thanks to kinematics and radar-guided cruise control

Harley-Davidson adaptive cruise control.
Harley-Davidson adaptive cruise control.

HARLEY-DAVIDSON has applied for a patent that shows a new type of adaptive cruise control specifically aimed at Harley’s current target demographic – groups of riders.

Adaptive cruise control is nothing new in the world of four-wheeled transportation but in the two-wheeled world, the only real early adopters of the tech have been bit players or crowd-funders. When the likelihood of ever seeing the systems they tout ever reaching market seems very slim.

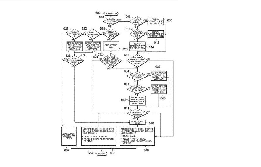
Well, now a seriously big player has stepped in with a system that is claimed to allow the bike to lock on to another bike and keep a set separation distance or separation time from target bike while offering the rider the chance to pick multiple bikes or cars within a lane to follow.

Harley-Davidson adaptive cruise control
Harley-Davidson adaptive cruise control

How does adaptive cruise control work?

The H-D system uses three kinematic controllers (a branch of maths that deals with the motion of objects) on the bike. These use data provided by radar sensors, LIDAR sensors (lasers that measure distance) and cameras to regulate the speed of the vehicle based on the distance to a preceding vehicle in the same lane.

Harley-Davidson adaptive cruise control
Harley-Davidson adaptive cruise control

How does the rider set the distance?

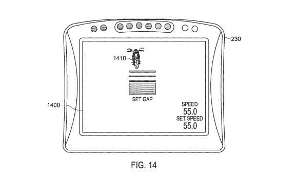
The Harley-Davidson system looks to be straightforward enough, with a large touchscreen (which will probably be banned on bikes soon anyway) which is used to select from one of the vehicles in the lane ahead. If no object is selected by the rider, it looks like the Harley system will suggest a vehicle that is within range and ask the rider if they would like to follow this vehicle.

The Harley system also incorporates a transceiver that can ping out the bike's location to other vehicles on the road. With a group of riders sharing the same piece of Tarmac, and the same H-D adaptive cruise control system, this feature should enable the bikes in the group to develop a kind of hive mentality, enabling the group of bikes to track and monitor the location of each other in real-time.

Harley-Davidson adaptive cruise control
Harley-Davidson adaptive cruise control

Can the system tell the difference between a car and a bike?

From looking at the patent application it seems it can, with specific pictograms shown on the HMI (Human Motorcycle Interface) displaying a car or a motorcycle symbol. The system deciphers what the vehicle is by looking at its position in the lane and size.

Harley-Davidson to champion group-guided cruise control

Why is Harley-Davidson picking this up now?

There are a couple of reasons we think H-D is all over this type of cruise control, the biggest reason is that lots of folk on the other side of the pond who ride Harleys do so in groups. They love a group ride out in the states, whether it’s to the shops to grab some beef jerky and ammo, or to Sturgis to join the other half a million bikers enjoying the show.

The second reason is that Harley has already filed for an automatic braking system, like the adaptive cruise control, that technique uses bike-controlled braking inputs to help avoid vehicles ahead of the rider. That combined with the adaptive cruise-controlled Harley are now working towards, means that massive swathes of Harley-Davidson’s customer base can group ride in a safer and more controlled way.

So long as the system works, faultlessly!

To view the full patent application, click here.

Remote video URL

Sponsored Content

Subscribe to our Newsletter

Get the latest motorcycling news, reviews, exclusives and promotions direct to your inbox

mpu