Will the next BMW S1000RR have an electric supercharger?
A German patent has been filed which appears to be a design for an electronically supercharged BMW S1000RR motorcycle

Recently a German patent application has been filed named ‘motorcycle with a supercharged internal combustion engine’, which upon closer inspection reveals that BMW might be developing an S1000RR superbike with an electric-powered supercharger.
Anyone who has googled ‘how to make your Vauxhall Corsa faster’ will be familiar with electric superchargers. And it’s a forced-induction technology that has gained a bad rap due to cheap and ineffective 25 quid bolt-on kits that can be purchased from online marketplaces.

But if the electric motor driving the compressor is powerful enough, it’s a technology that offers potential power and efficiency advantages over both engine-driven superchargers (as used on the H2 and H2R) and exhaust-driven turbochargers (like on the old Kawasaki GPZ750 Turbo).
Unlike a turbo, an electric supercharger doesn’t create a blockage in the exhaust system nor the problem of turbo lag – as it can spin up immediately off auxiliary power.
Compared to a mechanically-driven supercharger, which constantly uses engine power, the electric compressor relies on a small but powerful rechargeable battery, that can be charged when full power isn’t required - simular to F1 cars and harvest mode. So, when the throttle is fully open and the E-supercharged is working flat-out, it won’t be sapping any engine power.


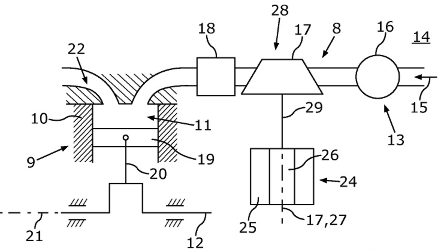
Like always the patent uses a super simplistic illustration of the system, but despite this, it does seem to show the general way in which a supercharger works - pushing air into the combustion chamber.
As I’m not an expert in this field I couldn't accurately suggest what this technology means for future BMW’s. But, chances are it will help increase efficiency and help the firm duck under ever more stringent emissions guidelines - whilst maintaining peak power.
Then again, from a few patented sketches will such a bike happen? Imagine an E-supercharged BMW S1000RR. Good lord. And to be honest, if anyone can make the tech work Bimmer would certainly be the culprits.










