Two new Yamaha TMAX hybrid drive system patents revealed |
Yamaha has submitted two patents describing a new TMAX maxi-scooter that features an innovative hybrid drive system

YAMAHA has drawn up two different patents centering around the theme of hybrid drive. Both feature the TMAX, with one using a hybrid drive direct to the crank and one into the bike’s transmission.
There is no indication from the patents as to how soon we could see the technology, although the shape of the bike features in the drawing seems to perfectly fit that of the latest generation TMAX maxi-scooter. It is clear though that the detail shown in the patents relates to a technology that is in the fairly advanced stage of development.
Yamaha TMAX crank-driven hybrid
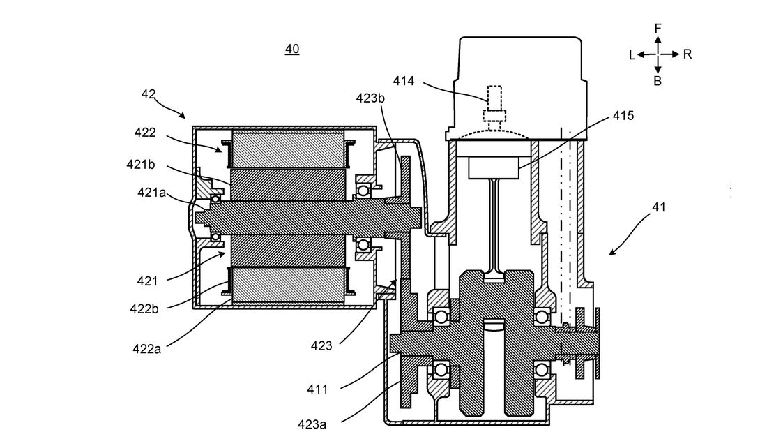
There are two different designs shown here, with the first being a direct link between the internal combustion engine (ICE) and the electric motor. In this way, the motor is connected directly to the ICE via the crank. This method has various benefits for the TMAX. Firstly, there is only one connection between the ICE and the electric motor, and importantly, it’s at the source of the engine’s output. It also means the bike’s conventional transmission system can be utilised, helping to keep the development of the bike as cost-effective as possible. It also means that as the ICE and electric hybrid system will be working in tune with each other, maintaining consistent torque, power and RPM should be easier.

Yamaha TMAX transmission-driven hybrid
The second solution sees the ICE of the bike left alone, and the hybrid drive system mounted into the bike's swing-arm and transmission system. As with the above, it has its pros and cons. While the engine is free to be left pretty much standard in this scenario, the transmission and swingarm must be significantly updated in order to accept the hybrid drive system.
It does though offer Yamaha the chance to use a modular approach to building its bike, by using a proprietary hybrid system that can effectively be coupled to a number of different engines. This is a more complex solution though and relies on the transmission of the bike accurately blending the output of the ICE and the electric motor seamlessly. Complicated yes. Impossible, not at all.

Why is Yamaha focusing on the TMAX?
A couple of reasons highlight the TMAX as a good starting point for a hybrid project. The first is the packaging. A maxi-scoot such as this provides the manufacturer with a myriad of options with regards to squeezing in the hybrid system and its batteries. Maxi-scoots have acres of storage space beneath the seat. While it’s not ideal to gobble up storage space and replace it with batteries, it is significantly easier to do on a bike like this than something like a conventional naked or sports bike.












